蝶阀
蝶间-C & C型
主体:采用精密CNC铣制加工而成的 SUS304,316L材料阀体可变,扭矩低。标准有 BS,SMS,DIN,3A 焊式和螺纹连接方式与夹式。
碟片:由机械加工,高抛光制成。Ra小于0.6um。9.5x9.5mm和8x12mm,12x12mm的中心轴,适用于美国和欧洲。可要求电抛光和PTFE涂层。
手柄:有不同的尼龙加固和不锈钢手柄抓手,有拉动和按动两种类型。有2至12个位置,专为您的宽度设计不同的选泽。
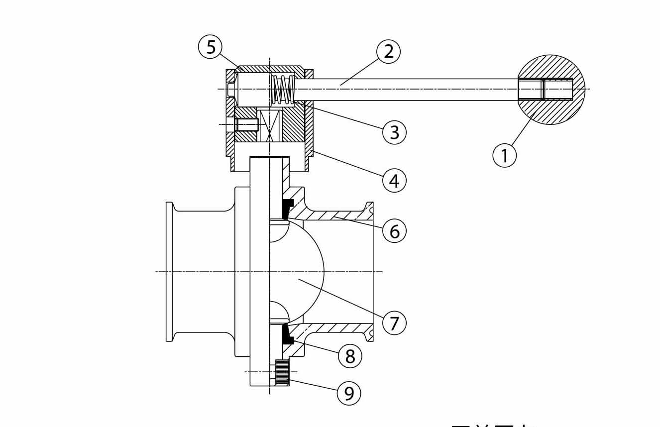
侧拉手把 Knob
不锈钢杆 Steel-Bar
不锈钢弹簧 Spring St.st
固定块 Fixed Piece
支架 Holder
本体 Body
螺栓 Disc
垫圈 PDM Rubber
碟片 SeatScrew Bolt

12段下拉手把-G12(尼龙和不锈钢) 4 段式侧拉把手-P4

适合9.5x9.5和12x8 或12x12 适合门9.5x9.5和12x8 或2x12


浙公网安备